Anyone recommend pump, regulator and injector for my setup

For discussing injector selection, manifold modifications, throttle bodies, fuel supply system design and construction, and FIdle valves and IACs.
Forum rules
Read the manual to see if your question is answered there before posting. If you have questions about MS1/Extra or MS2/Extra or other non-B&G code configuration or tuning, please post them at http://www.msextra.com The full forum rules are here: Forum Rules, be sure to read them all regularly.
Post Reply
BBLongman
MegaSquirt Newbie
Posts: 5
Joined: Sat Jun 24, 2006 10:28 am
Location: UK Derbyshire

Anyone recommend pump, regulator and injector for my setup

Post by BBLongman »

Can anyone recommend some components for me as i'm a bit in the dark at the moment.

Fuel injecting an Ariel Sq4 with single point injection is 40hp approx so estimate 250cc/min injector. Not too much of a problem to find a standard bosch car injector but would perhaps somone can reommend an injector from a motorcylcle that would suit with facility to connect fuel line straight onto injector top.


I want an external fuel pump and regulator as to put in tank would involve unwanted mods. Looking for something small and neat as I don't have acres of room. No idea were to start for this one. I've looked on ebay etc but everything looks enourmours!

Any ideas appreciated to get me started with my search.

Thanks

Ben
Rover P6 Estate. 3.9V8 with Toyota Supra 5 speed box. Edelbrock 500 carb and dizzy but hoping to go electronic
David - WI
MegaSquirt Newbie
Posts: 1
Joined: Sat Aug 28, 2004 9:07 am
Location: Juneau, WI

Post by David - WI »

Possibly Polaris snowmobile parts?

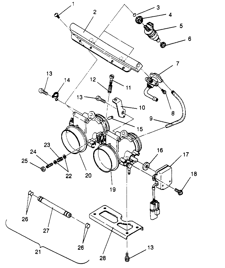
This pair of throttle bodies fit a two-cylinder 500cc motor making about 80hp:

E-bay item number: 300023287553

It looks like the TPS and fuel pressure regulator are included... you would need to cut down the fuel rail and throttle linkage if you only need one cylinder EFI.

This fuel pump & injectors fit a 3-cylinder 650cc motor making around 105hp. These two injectors will fit the used throttle bodies in the other auction and the fuel pump should be the same for either engine:

E-bay item number: 290024382581

Image[/url]

Sorry no links to the items... E-bay ads aren't allowed here; but those are the only photos I can find of these items. Those are not my ads.
BBLongman
MegaSquirt Newbie
Posts: 5
Joined: Sat Jun 24, 2006 10:28 am
Location: UK Derbyshire

Post by BBLongman »

Sorry didn't word the question very well.

I've already got the manifold, TPS and injector sorted.

It's the fuel pump and regulator I want to source. Preferably from a UK distributed motorcycle so that I can get hold of it second hand.

Thanks for the reply though.

Ben
Rover P6 Estate. 3.9V8 with Toyota Supra 5 speed box. Edelbrock 500 carb and dizzy but hoping to go electronic
Post Reply