Bike died on the dyno

Forum for discussing how to install MicroSquirt(TM), choose and troubleshoot sensors, wiring, and communications for MicroSquirt (TM) and MicroSquirt Module(TM).
Forum rules
Read the manual to see if your question is answered there before posting. If you have questions about MS1/Extra or MS2/Extra or other non-B&G code configuration or tuning, please post them at http://www.msextra.com The full forum rules are here: Forum Rules, be sure to read them all regularly.
Bruce Bowling
Site Admin
Posts: 285
Joined: Mon Feb 16, 2004 4:25 pm
Location: Baltimore, MD

Re: Bike died on the dyno

Post by Bruce Bowling »

pommie02 wrote:Bruce
i am using the opto input from the negative side of my coil.
would this mod help me ?
No, this is for the VR input. I need to read this whole post again to look for clues.....
pommie02

Re: Bike died on the dyno

Post by pommie02 »

as i am not using any form of ignition, would it be worth removing the wires that i am not using.
could i be getting electrical noise from something ?
Bruce Bowling
Site Admin
Posts: 285
Joined: Mon Feb 16, 2004 4:25 pm
Location: Baltimore, MD

Re: Bike died on the dyno

Post by Bruce Bowling »

pommie02 wrote:as i am not using any form of ignition, would it be worth removing the wires that i am not using.
could i be getting electrical noise from something ?
You could tie the VR+ to the Vref line, although there is a resistor on the board that does this. The output ignition wires really will not hurt anything if unconnected.

On the opto setup, have you tried triggering with a zener (like a 30 volt or so)?

- Bruce
pommie02

Re: Bike died on the dyno

Post by pommie02 »

update..
i thought i had it fixed...but it is just playing with me.
i have removed all of the wires that i am not using, this has appeared to make the problem slightly better /
i am going to move the position ofthe microsquirt as it was above the engine.
the ignition power supply i am using is used for a lot of components, so i am going to bypass this as well.
bruce...can i just connect the 5 volt vref straight to the vr + ?
the bike cuts out when its still on warm up enrichments, and then if i hold the throttle in the same position for a while...but no where near as bad as it was
SQLGUY
Experienced Squirter
Posts: 243
Joined: Sun May 14, 2006 3:03 am
Location: Colorado Springs, CO

Re: Bike died on the dyno

Post by SQLGUY »

+5V Vref to VR+?! No!

+5V Vref is a low-current regulated 5V supply. Tieing it to a variable reluctance coil that can pulse 100V sounds like a quick way to kill uS.

What's the goal here?
pommie02

Re: Bike died on the dyno

Post by pommie02 »

another update
i now know that there is a problem with the microsquirt..
i have refitted my carbies and the bike runs fine, no shutting down...
i have moved the position of the microsquirt away from any heat sources,i have changed power supplies,i have powered my fuel pump from the bikes original wiring. i have totally stripped the wiring and rechecked all of my connections.
the bike starts fine and idles fine...
you can rev it to about 3000 revs a few times, which is about 2 % throttle. it then cuts out and wont restart.
i thought i might be cranking pulsewidths, but i have altered them with no difference.
its not fuel supply because the microsquirt does not control my fuel pump...
i have a spark, so the only thing left is no injector control....i think
any ideas....
newtyres1
Helpful Squirter
Posts: 139
Joined: Mon Feb 06, 2006 7:32 pm
Location: Brisbane, Australia

Re: Bike died on the dyno

Post by newtyres1 »

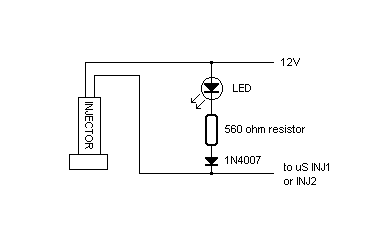
You could try wiring an LED and a 560 ohm resistor and a 1N4007 diode across one of your injectors. When the LED lights the injector is getting power and should be open. If it doesn't light up, then the injector is not getting a signal from the uS to turn on. Did you try hard-wiring the 12V from the battery to your uS to make sure the power isn't dropping off (as a temporary experiment)?

Ian.
Attachments
LED on INJ.gif
LED on INJ.gif (1.51 KiB) Viewed 1339 times
pommie02

Re: Bike died on the dyno

Post by pommie02 »

Ian..
i will give that a try
i have connected it directly to the battery, with no difference...
i have moved the earths....
i wont be touching the bike for a couple of weeks...just in case i do something stupid
i am not normally a quitter...but its looking good at the moment
newtyres1
Helpful Squirter
Posts: 139
Joined: Mon Feb 06, 2006 7:32 pm
Location: Brisbane, Australia

Re: Bike died on the dyno

Post by newtyres1 »

The only other possible thing I can think of is a bad negative cable from the battery to ground...
Dave Sloan
MegaSquirt Newbie
Posts: 13
Joined: Wed May 12, 2004 2:01 am
Location: Brisbane, queensland

Re: Bike died on the dyno

Post by Dave Sloan »

Is there any one else in Brisbane with a micro squirt that you could substitute just to confirm that there isnt something weird with the MS?
Post Reply